
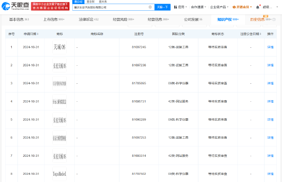
新浪科技讯 11月21日上昼音讯,天眼查常识产权信息表示,近日,重庆长安汽车股份有限公司恳求注册多枚“长安天域 OS”“天衡智能底盘”“长安天域机灵座舱”“长安天衡踱步式电驱”商标,国外分类波及科学仪器、运载用具、网站业绩,刻下商标现象均为恭候本色审查。
据报谈,不久前,长安汽车发布了长安SDA天枢架构、长安天枢大模子、长安智驾、长安天域OS、长安天域机灵座舱、长安天衡智能底盘、长安天驭智能增程7项时候。(罗宁)
海量资讯、精确解读,尽在新浪财经APP
包袱裁剪:江钰涵 ag九游会网站